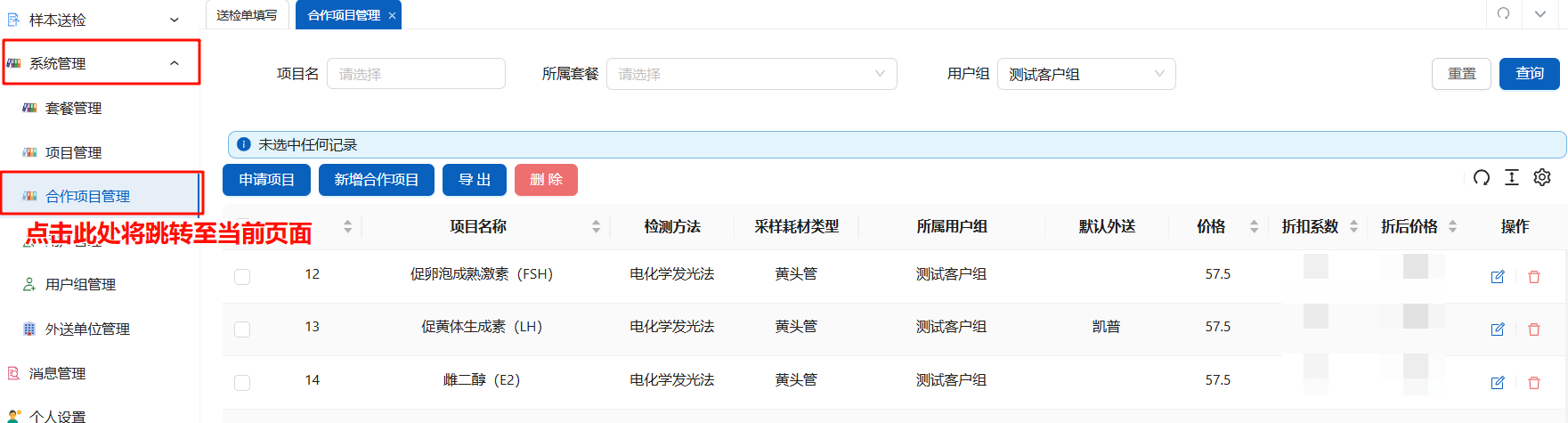
合作项目管理
界面预览
合作项目管理,用于管理项目与送检单位(用户组)的前端页面
界面由查询栏,表格和功能按钮所构成,如下图所示

表格列名解释
- ID:无实际意义的编号
- 项目名称:当前用户组/单位在录的所有项目
- 检测方法:项目采取的实验方法,
- 采样耗材类型:用于存储 病人 采集的血液等生物标本的耗材
- 所属用户组:用于展示当前项目,是否属于该用户组/单位
- 默认外送:在送检单填写时,项目首先展示的外送单位
- 价格:项目的原始价格
- 折扣系数:(仅超级管理员可见)用于调整项目打折的系数
- 折后价格:(仅超级管理员可见)价格 X 折扣系数 = 折后价格
核心功能
浏览合作项目信息
如上图所示,部分信息或功能仅对内部组公开
查询

申请项目(对外,暂不记录)
新增合作项目

点击新增合作项目,打开窗口
当前账号所处的用户组为“双子星”,所以选择“双子星”,其它非内部组成员仅展示成员所属的用户组
选择后,将出现该合作送检单位包含的所有项目,部分已被添加到合作送检单位(如“双子星”),呈现灰色不可勾选(如下图)
指定勾选项目的默认外送单位(不指定则表示项目默认自检)
折扣系数的新增或修改,暂不对非超级管理员开放
勾选方框,或选中项目文本,点击确认按钮。此时该项目可被当前用户组(如“双子星”)的所有成员使用
如果出现可勾选的项目,则表示该项目已在
项目管理处添加,为了不影响后续使用(比如套餐管理添加套餐/查询包含项目),请自行在此处手动新增该项目!

导出合作项目表
点击导出,将导出当前全表数据

修改项目

删除合作项目
点击删除按钮,将出现“是否确认删除”的提示,点击确认将删除合作项目

至此,您已经阅读完合作项目管理的操作文档